ССЫЛОЧНЫЕ НОРМАТИВНО-ТЕХНИЧЕСКИЕ ДОКУМЕНТЫ
Обозначение НТД, на который дана ссылка  | Номер пункта  | Обозначение НТД, на который дана ссылка  | Номер пункта  | 
ГОСТ 12.3.009-76  | 4.1.3  | ГОСТ 7376-89  | 1.5.1  | 
ГОСТ 166-89  | 3.3  | ГОСТ 8273-75  | 1.5.1  | 
ГОСТ 427-75  | 3.2, 3.3, 3.16  | ГОСТ 9078-84  | 1.5.1  | 
ГОСТ 473.1-81  | 3.1, 3.6  | ГОСТ 9347-74  | 1.5.1  | 
ГОСТ 473.2-81  | 3.1  | ГОСТ 9421-80  | 1.5.1  | 
ГОСТ 473.3-81  | 3.1, 3.5  | ГОСТ 9570-84  | 1.5.1  | 
ГОСТ 473.4-81  | 3.1  | ГОСТ 10198-91  | 1.5.1  | 
ГОСТ 473.5-81  | 3.1, 3.11  | ГОСТ 10354-82  | 1.5.1  | 
ГОСТ 473.6-81  | 3.1, 3.7  | ГОСТ 10978-83  | 3.14  | 
ГОСТ 473.7-81  | 3.1, 3.12  | ГОСТ 13993-78  | 3.9  | 
ГОСТ 473.8-81  | 3.1, 3.8  | ГОСТ 14192-96  | 1.4.2  | 
ГОСТ 473.9-81  | 3.1  | ГОСТ 15102-75  | 1.5.1  | 
ГОСТ 473.10-81  | 3.1  | ГОСТ 15846-79  | 1.5.9  | 
ГОСТ 473.11-81  | 3.1  | ГОСТ 17308-88  | 1.5.1  | 
ГОСТ 503-81  | 1.5.1  | ГОСТ 20435-75  | 1.5.1  | 
ГОСТ 2228-81  | 1.5.1  | ГОСТ 22225-76  | 1.5.1  | 
ГОСТ 2991-85  | 1.5.9  | ГОСТ 24597-81  | 1.5.7  | 
ГОСТ 3560-73  | 1.5.1  | ГОСТ 26663-85  | 1.5.1, 1.5.7  | 
ГОСТ 5244-79  | 1.5.1  | ТУ 2-034-225-87  | 3.4, 3.16  | 
ГОСТ 6730-75  | 1.5.1  | ТУ 6-19-051-512-86  | 1.5.1  | 
ГОСТ 7025-91  | 3.10  | ТУ 17-05-009-85  | 1.5.1  | 
ГОСТ 7031-75  | 3.13.2  | ТУ 21 28 44 83  | 1.5.9  | 
1.2. Основные параметры и размеры
1.2.1 Марки плиток и коды ОКП по Общероссийскому классификатору промышленной продукции приведены в табл. 1.
Таблица 1
Марка плитки  | Наименование плитки и ее форма  | Код ОКП  | 
КФ  | Плитки кислотоупорные фарфоровые:  | 57 5311 2000  | 
– квадратные  | 57 5311 2100  | |
– прямоугольные  | 57 5311 2200  | |
– клиновые  | 57 5311 2300  | |
ткд  | Плитки термокислотоупорные дунитовые:  | 57 5312 3100  | 
– квадратные  | 57 5312 3200  | |
– прямоугольные  | 57 5312 3300  | |
– клиновые  | 57 5312 3400  | |
ткг  | – спаренные Плитки термокислотоупорные для гидролизной промышленности:  | 57 5312 4000  | 
– квадратные  | 57 5312 4105  | |
– квадратные (радиальные)  | 57 5312 4101  | |
КС  | Плитки кислотоупорные керамические для строительных конструкций  | 57 5311 3000  | 
квадратные  | 57 5311 3100  | 
Издание официальное Перепечатка воспрещена
Издательство стандартов, 1989 ИПК Издательство стандартов, 2002
Продолжение табл. 1
Марка плитки  | Наименование плитки и ее форма  | Код ОКП  | 
КШ  | Плитки кислотоупорные шамотные:  | 57 5311 1000  | 
– квадратные  | 57 5311 1100  | |
– прямоугольные  | 57 5311 1200  | |
– клиновые  | 57 5311 1300  | |
– спаренные  | 57 5311 1400  | |
ткш  | Плитки термокислотоупорные шамотные:  | 57 5312 1000  | 
– квадратные  | 57 5312 1100  | |
– прямоугольные  | 57 5312 1200  | |
– клиновые  | 57 5312 1300  | |
– спаренные  | 57 5312 1400  | 
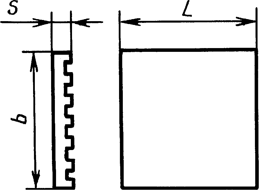
1.2.2. Формы плиток приведены на черт. 1—5.
Квадратная
Квадратная (радиальная)
 
Черт. 1
 

Прямоугольная
L
Клиновая
Спаренная
 
Черт. 3
 
Черт. 5
1.2.3. В зависимости от типа и формы размеры плиток приведены в табл. 2.
Размеры в миллиметрах
Таблица 2
Форма плитки  | Тип  | L  | Li  | Ъ  | S  | R  | 
Квадратная  | ПК-2  | 150  | —  | 150  | 15; 20; 30; 35  | —  | 
ПК-3  | 175  | 175  | 20; 30; 35; 50  | |||
ПК-4  | 200  | 200  | ||||
Квадратная (радиальная)  | ПКР-1  | 150  | —  | 150  | 35; 50  | 310  | 
ПКР-2  | 325  | |||||
ПКР-3  | 175  | 175  | 1185  | |||
ПКР-4  | 1200  | 
Размеры в миллиметрах
Продолжение табл. 2
Форма плитки  | Тип  | L  | h  | b  | У  | R  | 
Прямоугольная  | ПП-2  | 150  | —  | 75  | 20; 30; 35  | —  | 
ПП-3  | 175  | 20; 30; 35; 50  | ||||
ПП-5  | 200  | 100  | ||||
ПП-6  | 230  | 113  | ||||
ПП-8  | 200  | 140  | ||||
ПП-9  | 155  | |||||
ПП-10  | 260  | 130  | 43  | |||
Клиновая  | ПКЛ-6  | 135  | 80  | 175  | 20; 30; 35; 50  | —  | 
ПКЛ-7  | 90  | |||||
ПКЛ-8  | 100  | 20; 30; 35  | ||||
ПКЛ-9  | 105  | 20; 30; 35; 50  | ||||
ПКЛ-10  | 110  | |||||
ПКЛ-11  | 115  | |||||
ПКЛ-12  | 120  | |||||
ПКЛ-13  | 145  | 125  | 170  | |||
ПКЛ-17  | 150  | 130  | 175  | |||
ПКЛ-18  | 135  | |||||
ПКЛ-19  | 140  | |||||
ПКЛ-20  | 145  | |||||
ПКЛ-22  | 167  | 135  | 150  | |||
ПКЛ-23  | 175  | 150  | 175  | |||
ПКЛ-24  | 155  | |||||
ПКЛ-26  | 165  | |||||
ПКЛ-27 ПКЛ-28  | 170 173  | |||||
Спаренная  | ПС-2  | 200  | —  | 100  | 20  | —  | 
ПС-3  | 30  | |||||
ПС-4  | 35  | |||||
ПС-6  | 230  | 113  | 20  | |||
ПС-7  | 30  | |||||
ПС-8  | 35  | 
1.2.4. Условное обозначение плиток должно состоять из марки, типа, сорта и обозначения настоящего стандарта.
Примеры условных обозначений
Кислотоупорные шамотные плитки прямоугольные 1-го сорта, длиной 230 мм, шириной 113 мм, толщиной 20 мм:
КШПП-4 1 с ГОСТ 961-89
Термокислотоупорные шамотные плитки спаренные 1-го сорта, длиной 230 мм, шириной 113 мм, толщиной 30 мм:
ТКШ ПС-1 с ГОСТ 961-89
1.2.5. Предельные отклонения размеров и формы плиток всех марок не должны превышать указанных в табл. 3.
Таблица 3
Наименование показателя  | Значение для плитки  | |
высшего сорта  | первого сорта  | |
Отклонения по длине и ширине плиток, %>, не более  | ±1,4  | ±1,6  | 
Отклонения по толщине плиток, мм, не более  | +1,0  | +2,0  | 
Кривизна (стрела прогиба) лицевой поверхности и боковой грани, мм, не более  | 1,5  | 2,0  | 
1.2.6. В партии плиток разность наибольшего и наименьшего измерений длины и ширины не должна превышать 3 мм для измерений до 200 мм включительно и 4 мм — для измерений свыше 200 мм.
Укладка кислотоупорной плитки: плюсы и общие принципы
Укладка кислотоупорной плитки требуется при монтаже напольных покрытий, контактирующих с химическими веществами повышенной кислотности. Такая керамика пользуется активным спросом у владельцев промышленных цехов, но не менее востребована она и в быту.

Некоторые предприятия работают с агрессивными составами, которые разрушающе воздействуют на облицовку полов и стен. В таких условиях именно кислотоупорная плитка — самое оптимальное решение для сверхнадежной защиты уязвимых поверхностей. Это относится к электростанциям, химзаводам, автомойкам и ряду других фабрик, специализирующихся на использовании ядовитых материалов в производстве.
Укладка плитки на пол зимой
А как правильно класть плитку на пол в зимний период? Если наружные плиточные работы приходится вести при температуре окружающего воздуха ниже +5 °С, используют растворы, включающие компоненты, снижающие температуру замерзания раствора: водные растворы хлористого кальция, углекислого калия (поташа), азотистокислого натрия (нитрита натрия). Эти добавки вводят во время приготовления смеси, их количество зависит от степени понижения температуры воздуха.
Такие внутренние поверхности, как откосы, ниши, которые быстро охлаждаются, облицовывают только в теплое время года. При наступлении холодов облицовку ведут только при условии предохранения рабочей поверхности от замерзания (используют утепление войлоком, электропрогрев).
При производстве наружных плиточных работ в зимних условиях часто устраивают тепляки, где поддерживают требуемый температурный режим в течение необходимого времени.
Но в любом случае растворы и мастики, которые предстоит использовать при облицовке, должны иметь температуру не ниже +15 °С, это условие относится и к их затворению, и к перемещению, и к хранению.
Во время укладки плитки зимой есть еще одна сложность. При облицовке наружных поверхностей плитками из природного камня цементный раствор, заливаемый в пазухи между плитой и стеной, при низкой температуре воздуха твердеет плохо. Для его лучшей схватываемости применяют непрерывный электропрогрев до момента приобретения раствором прочности 50% от проектной.
Область применения
Данная плитка, нашла широкое применение в промышленности и быту и обусловлена эта популярность уникальными свойствами, присущими керамике, произведённой по ГОСТ 961-89, а именно стойкость к сильным химическим веществам, водонепроницаемость, высокая прочность и хорошая морозоустойчивость. Этими же свойствами обладает и плитка Argelith, технология её производства, позволяет применение продукции Аргиллит, наравне с ГОСТовской керамикой.

Кислотоупорная плитка – это высокоэффективный, рентабельный стройматериал промышленного и бытового назначения
Сферы, где целесообразна укладка кислотоупорной плитки, выделяются следующим образом:
- Промышленные помещения. К облицовке которых, предъявляются повышенные требования по химической стойкости, прочности, истираемости, воздействию высоких или низких температур и морозоустойчивости. Учитывая возможные механические нагрузки и большой вес установленного оборудования и механизмов, толщина применяемой плитки должна быть достаточной, например, 200х200х20 мм или 300х300х20 мм.
 - Химические лаборатории. В помещениях такого типа, наличие кислот и щелочей, предусматривает внутреннюю облицовку кислотоупорной плиткой, произведённой по ГОСТу, или керамикой Аргиллит, наиболее подходящие параметры элементов для укладки на пол для таких помещений будут 200х200х20 мм.
 - Предприятия пищевой промышленности. Мясоперерабатывающие цеха, цеха по выпуску молочной продукции, кухни столовых и ресторанов эксплуатируются в довольно жёстких условиях. Агрессивная среда, большие механические нагрузки, повышенная влажность, действие высоких или низких температур, обуславливает использование при отделке помещений, керамики Аргиллит.
 - Применение в быту. Положительные свойства, клинкерной или керамогранитной кислотоупорной плитки, нашли своё применение и в повседневной жизни. Облицовка пола на кухне, фартука или столешницы, прослужит долго, будучи выполненной плиткой, Аргиллит, к тому же выглядеть это будет достаточно привлекательно и эстетично. Балкон, открытая веранда, тротуарные дорожки, сделанные из кислотоупорной плитки по ГОСТ 961-89, легко справятся с большим количеством циклов замораживания и оттаивания благодаря отличной морозоустойчивости материала. А уж пол в гараже, покрытый плиткой Аргиллит 200х200х20 мм, бесспорно, лучшее решение из существующих отделочных материалов, керамика способна выдерживать большой вес автомобиля, устойчива к воздействию горюче-смазочных материалов и проста в уходе и содержании.
 
Особенности выбора и использования
Как и в случае со многими другими материалами, кислотоупорная плитка используется и укладывается в соответствии с определенными правилами и нормами, предусмотренными строительной документацией.
Выбирать толщину плитки следует на основе условий, при которых она будет эксплуатироваться. Величина пропорциональна уровню нагрузок, которыми подвергается поверхность.
 При необходимости передвижения по поверхности тяжелой техники, толщину кислотоупорно керамической плитки следует выбирать не мене 35 миллиметров. Если этого показателя недостаточно, тогда выбирается материал с толщиной порядка 65 миллиметров.
 Клеящей смесью и затиркой выступает арамзит 5 или силикатная замазка. Выбор напрямую зависит от уровня влажности помещений. Так, силикатная замазка подходит для сухих помещений, а арамзит — для более влажных.
 В некоторых случаях актуально использовать сразу два типа клея одновременно
 Плитка крепится на поверхностях при помощи смазки, а швы расшиваются уже при помощи арамзита.
 При применении арамзита необходимо создать ровную и гладкую бетонную поверхность.
 Также поверхность предварительно обрабатывается полиизобутиленом или смолой — ЭД 20.
 Во время укладки важно придерживаться оптимального температурного режима внутри помещения — примерно 18-20 градусов по Цельсию.
Применение в промышленности
Материал довольно широко применяется в промышленности, что обусловлено уникальными свойствами такого типа плитки. Из основных сфер, где используется кислотоупорный кафель, можно выделить:
- Промышленные здания, различные сооружения, где требуется защиты от агрессивных химических веществ и повышенных температурных режимов;
 - Предприятия и учреждения химической, пищевой сферы промышленности, где необходимо сделать надежный и безопасный настил для пола, находящийся в условиях повышенных механических нагрузок и под постоянным влиянием агрессивных сред.
 
Применение в быту
Как ни удивительно, но такому материалу нашли применение и в повседневной жизни человека, то есть в его быту.
Преимущественно кислотоупорную плитку укладывают на пол в собственных гаражах, застилают подвалы, ею устилают балконы, а также лоджии. Кроме того, данный материал можно назвать незаменимым в вопросах постройки тротуаров, ступеней, отмостков.
https://youtube.com/watch?v=PkpPVZS_9CA
Важно отметить пользу кислотоупорной плитки для автомобилей. Ведь с ее помощью можно создать великолепную площадку под стоянку машины у себя во дворе, выполнить красивую, функциональную и безопасную территорию для автозаправочной станции, а также соорудить полноценную большую стоянку
Как видите, такие плиты заслуженно пользуются спросом, их возможности используют с максимальной эффективностью. Разумеется, вовсе не всегда и не везде есть необходимость в приобретении подобного материала. Его цена высокая из-за уникальных свойств, потому преимущественно встречается на предприятиях.
Укладка кислотоупорной плитки не имеет серьезных отличий. Основная разница заключается в используемых клеящих смесях, а также составах для затирки швов. Для нее обычная готовая смесь, используемая для монтажа керамической плитки в той же ванной, не подходит. Используйте силикатные замазки или же арамзит.
5 неоценимых преимуществ кислотоупорной керамики
- Несмотря на визуально гладкую поверхность, материал совершенно устойчив к скольжению. Даже при попадании жидкостей. Это огромный плюс, с учетом, что на предприятиях промышленного характера осуществляется активная производственная деятельность.
 - Максимальная гидростойкость и термостойкость материала уберегают керамику от деформации и разрушения. Следовательно, позволяют продлить период эксплуатации покрытия.
 - Укладка кислотоупорной плитки — дело продолжительное и кропотливое. Но в данном случае это — преимущество. Именно грамотный подход к работе, без спешки и суеты, обеспечивает желаемый результат. А значит, помогает избежать множества аварийных ситуаций на предприятии.
 - Керамика — природный материал. Соответственно, экологические характеристики плитки позволяют эксплуатировать ее не только в промышленных, но и в жилых помещениях. Риск химического отравления и аллергических реакций минимален. Поэтому она активно используется даже в пищевых и фармацевтических цехах.
 - Устойчивость к воздействию кислот, щелочей, ядов и прочих химически агрессивных веществ делает кислотоупорную плитку незаменимым облицовочным материалом.
 
Химическая защита защита полиизобутиленом и кислотостойкой плиткой (кислотоупорным кирпичем).
При воздействии на бетон агрессивных сред и воды происходит повреждение I, II или III вида коррозии бетона. Необходимо учитывать агрессивность воздействия рабочей среды, особенности химического воздействия, климатические составляющие, а также другие условия службы конструкции, правильно выбрать материалы и назначить плотность бетона, чтобы обеспечить заданную долговечность.
полиизобутиленовые пластины ПСГ«ТехноПласт Сервис» осуществляет работы по укладке полиизобутилена ПСГ выездными бригадами и осуществляет работы по химической защите полов и конструкций на ведущих предприятиях химической отрасли России.
В железобетонных конструкциях арматура также может подвергаться агрессивному воздействию. Необходимо рассматривать также вопрос сохранности арматуры в бетоне. При повышении относительной влажности воздуха более 60%, а также при воздействии на конструкцию жидких или твердых сред, содержащих агрессивные по отношению к стали, возможно развитие коррозии арматуры. Разрушение железобетонной конструкции в данном случае может наступить вследствие коррозии арматуры. Ржавчина накапливаясь на арматуре, оказывают давление на бетон.
Сроки службы бетона и степень агрессивного воздействия среды определяется специальными нормами по антикоррозионной защите строительных конструкций (СНиП 3.04.03-85 «Защита строительных конструкций и сооружений от коррозии»).
«ТехноПласт Сервис» осуществляет работы по футеровке и облицовке поверхностей кислотоупорными штучными материалами на силикатной замазке с одновременной расшивкой швов замазками «арзамит» на территории РФ.
Укладка кислотоупорной плитки: плюсы и общие принципы
Укладка кислотоупорной плитки требуется при монтаже напольных покрытий, контактирующих с химическими веществами повышенной кислотности. Такая керамика пользуется активным спросом у владельцев промышленных цехов, но не менее востребована она и в быту.
Некоторые предприятия работают с агрессивными составами, которые разрушающе воздействуют на облицовку полов и стен. В таких условиях именно кислотоупорная плитка — самое оптимальное решение для сверхнадежной защиты уязвимых поверхностей. Это относится к электростанциям, химзаводам, автомойкам и ряду других фабрик, специализирующихся на использовании ядовитых материалов в производстве.
1.3. Характеристики
1.3.1. Лицевая поверхность плиток должна быть гладкой, а монтажная — рифленой для обеспечения прочного сцепления плитки с раствором. Высота рифления должна быть от 2 до 4 мм.
1.3.2. Квадратные, прямоугольные и клиновые плитки, применяемые для футеровки варочных котлов сульфитно-целлюлозного производства, должны изготовляться двух видов:
– основные — с одной рифленой поверхностью;
– подкладочные — с двумя рифлеными поверхностями.
1.3.3. По физико-химическим и механическим показателям плитки марок КФ, ТКД, ТКГ должны соответствовать требованиям табл. 4, плитки марок КС, КШ и ТКШ — табл. 5.
Таблица 4
Значение для плиток марки  | ||||||
Наименование показателя  | КФ  | ТКД  | ТКГ  | |||
высшего сорта  | первого сорта  | высшего сорта  | первого сорта  | высшего сорта  | первого сорта  | |
1. Водопоглощение, %, не более  | 0,4  | 0,5  | 2,0  | 2,8  | 5,0  | 6,0  | 
при толщине до 35 мм включ.  | ||||||
6,0  | 8,0  | |||||
при толщине ев. 35 мм  | ||||||
2. Кислотостойкость, %, не менее  | 99,0  | 98,0  | 98,0  | 98,0  | 98,0  | 97,5  | 
3. Предел прочности при сжатии МПа (кгс/см2), не менее  | 150 (1500)  | 130 (1300)  | 120 (1200)  | 100 (1000)  | 50 (500)  | 40 (400)  | 
4. Предел прочности при статическом изгибе, МПа (кгс/см2), не менее  | 40 (400)  | 30 (300)  | 20 (200)  | 20 (200)  | 15 (150)  | 10 (100)  | 
5. Водопроницаемость  | —  | —  | С обратной стороны плиток не должно быть капель через 24 ч  | |||
6. Морозостойкость (количество циклов), не менее  | —  | —  | 20  | 15  | —  | —  | 
7. Термическая стойкость (количество теплосмен), не менее  | 2  | 2  | 15  | 15  | 15  | 15  | 
8. Предел прочности при разрыве  | Не нормируется. Определяется для накопления данных  | |||||
9. Износостойкость  | —  | —  | То же  | —  | —  | 
Таблица 5
Значение для плиток марки  | ||||||
Наименование показателя  | КС  | КШ  | ТКШ  | |||
высшего  | первого  | высшего  | первого  | высшего  | первого  | |
сорта  | сорта  | сорта  | сорта  | сорта  | сорта  | |
1. Водопоглощение, %>, не более  | 3,5  | 4,5  | 5,0  | 6,0  | 6,0  | 8,0  | 
2. Кислотостойкость, %, не менее  | 97,0  | 96,0  | 98,0  | 97,0  | 98,0  | 97,0  | 
3. Предел прочности при сжатии,  | 50  | 40  | 50  | 42  | 50  | 40  | 
МПа (кгс/см2), не менее  | (500)  | (400)  | (500)  | (420)  | (500)  | (400)  | 
4. Предел прочности при статическом изгибе, МПа (кгс/см2), не  | 25  | 15  | 15  | 10  | 15  | 10  | 
менее  | (250)  | (150)  | (150)  | (100)  | (150)  | (100)  | 
5. Водопроницаемость  | —  | —  | С обратной стороны плиток не должно быть  | |||
капель ч  | грез 24 ч  | |||||
6. Морозостойкость (количество циклов), не менее  | 20  | 15  | 20  | 15  | 20  | 15  | 
7. Термическая стойкость (количество теплосмен), не менее  | 3  | 2  | 5  | 2  | 10  | 8  | 
8. Предел прочности при разрыве  | —  | —  | —  | —  | Не нормируется. Определяется для  | |
накопления данных  | ||||||
9. Износостойкость  | —  | —  | —  | —  | То же  | 
1.3.4. Температурный коэффициент линейного расширения и модуль упругости приведены в приложении 2.
1.3.5. Применение плиток для футеровки оборудования, подвергающегося воздействию фосфорно-кислых и фторсодержащих сред, в соответствии с приложением 3.
1.3.6. По показателям внешнего вида на лицевой поверхности плиток всех марок не должно быть отклонений, превышающих указанные в табл. 6.
Таблица 6
Наименование показателя  | Значение для плиток  | |
высшего сорта  | первого сорта  | |
Трещины  | Не допускаются  | Не допускаются  | 
Посечки  | Допускаются длиной не более 10 мм, в количестве не более 5 шт.  | |
Отбитости углов  | Допускаются глубиной не более 2 мм, длиной не более 8 мм, не более одной  | Допускаются глубиной не более 4 мм, длиной не более 10 мм, не более одной  | 
Отбитости ребер  | Допускаются глубиной не более: 2 мм 3 мм общей длиной не более: 20 мм 35 мм  | |
Выплавки, выгорки  | Допускаются диаметром не более 2 мм, в количестве не более: 3 шт. 5 шт.  | |
Пузырь  | Допускается диаметром не более: 2 мм 3 мм в количестве не более: 1 шт. 3 шт.  | 
Примечания
1. Для плиток марок КФ и ТКД посечки не допускаются.
2. На лицевой поверхности плитки общее количество дефектов допускается не более двух для плиток высшего сорта, не более четырех — для плиток первого сорта.
1.3.7. На монтажной поверхности плитки выплавки, выгорки, пузыри и отбитости ребер не регламентируются.
1.3.8. Плитки марок КФ, ТКД в изломе должны быть плотной однородной структуры.
Плитки марок Kill, ТКГ и КС в изломе должны быть мелкозернистого однородного строения.
1.3.9. Плитки типа ПС должны свободно разделяться.
Где применяется
Современная промышленность – это не только использование новейших технологий, но и вредное производство, на котором используются агрессивные среды и материалы. От прямого контакта с ними страдают люди, поверхности стен и пола. Именно для их сохранности и увеличения срока службы используют клинкерную кислотоупорную плитку.
Незаменимой она является:
- на предприятиях химической промышленности, где отделка страдает от химпрепаратов в первую очередь;
 - на предприятиях пищевой, легкой промышленности;
 - используется в помещениях электростанций, включая АЭС;
 - во всех производственных цехах, где есть вероятность повреждения в результате вредного воздействия кислот, щелочей, горюче-смазочных материалов, разрушающих защитный слой обычной керамики;
 - в складских помещениях, на погрузо-разгрузочных площадках;
 - на станциях техобслуживания, автомобильных заправках.
 
Помимо использования в промышленных помещениях на заводах, фабриках, незаменимой является кислотоупорная керамика при отделке жилья. Затраченные средства на облицовку помогут, сохранить отделку стен кухни, где традиционно повышенная влажность и перепад температур.
Покрытия стен, пола, в теплицах и подсобных помещениях, защищают кислотоупорной плиткой от агрессивных веществ, и изготавливают по особой технологии. Незаменима она также при отделке балконов, лоджий, оборудовании садовых дорожек, тротуаров.
Преимущества и недостатки, выбор подходящего материала
Трудно найти ещё какой-либо отделочный материал, который собрал бы в себе столько положительных качеств, представим основные из них:
- стойкость к воздействию даже самых сильных и агрессивных химических веществ, включая щёлочи и концентрированные кислоты;
 - небольшая степень влагопоглощения;
 - нескользкость покрытия;
 - стойкость к механическим нагрузкам и способность выдерживать большой вес оборудования и механизмов;
 - экологичность материала позволяет применять плитку Аргиллит в пищевой промышленности, медицине и других местах требующих определённого санитарно-гигиенического соответствия;
 - хорошая морозоустойчивость;
 - простота ухода и обслуживания поверхности.
 
Перед укладкой плиток на кислотоупорном растворе основание очищают и просушивают
Недостатков хотя и немного, но всё же они имеются:
- дороговизна кислотоупорной керамики;
 - ограниченный выбор цветовой гаммы и формы элементов.
 
Особенности выбора
При выборе кислотоупорной плитки для отделки того или иного промышленного помещения нужно руководствоваться технической документацией на объект, ГОСТами и техническими условиями в которых отражается назначение объекта и рекомендации по применяемым материалам
Принимать во внимание нужно следующие параметры и факторы:
- толщина изделия подбирается в зависимости от величины нагрузки действующей на покрытие;
 - если по облицованной поверхности предусмотрено движение тяжёлой техники, то толщина плитки выбирается не меньше 35 мм, в особых случаях можно использовать керамику толщиной 65 мм.
 
Прежде чем сделать выбор в сторону кислотостойкой плитки, нужно убедиться, что все уникальные свойства данного материала, будут задействованы в конкретной облицовке, в противном случае, приобретение и использование достаточно дорогой керамики является нецелесообразным.
Укладка кислотоупорной плитки
Общие правила монтажа кислотоупорной плитки на различные поверхности не отличаются от стандартных требований. Главное различие заключается не в технологии, а в применяемых материалах. Основным требованием к клеящим смесям и замазкам для такой плитки является возможность выдерживать нагрузку и любые виды химического воздействия не хуже чем сам укладываемый материал.
Практически каждый производитель рекомендует для монтажа своего материала конкретный состав, чаще всего собственного производства, к мнению производителя стоит прислушаться, тем более, что при возникновении любых спорных ситуаций, вы не сможете доказать свою правоту, если применяли материал, который не рекомендован фирмой. Это называется — нарушение технологии укладки.
Такие же требования предъявляются и к затирке для швов, при укладке плитки возможны два варианта:
 Заделка швов основным составом.
 Заделка специальной смесью
В этом случае особое внимание следует уделить очистке шва, любое включение клеевой смеси может значительно снизить эксплуатационные качества покрытия.. Из всех вышеперечисленных достоинств, для бытового применения главным является то, что покрытие из кислотоупорной плитки будет служить намного дольше в любых условиях, не теряя своего цвета
Поэтому внешний вид вашего двора на протяжении длительного времени будет презентабельным, несмотря на все, губительные для других видов покрытий, воздействия, независимо от природы их возникновения
Из всех вышеперечисленных достоинств, для бытового применения главным является то, что покрытие из кислотоупорной плитки будет служить намного дольше в любых условиях, не теряя своего цвета. Поэтому внешний вид вашего двора на протяжении длительного времени будет презентабельным, несмотря на все, губительные для других видов покрытий, воздействия, независимо от природы их возникновения.
Особенности кислотоупорной плитки и технология укладки
Благодаря техническим параметрам плитки, всё чаще её можно встретить в обычных гаражах или подсобных хозяйствах. Кафель доступен, а возможность забыть об эксплуатационных проблемах стоит дополнительных усилий по укладке.
Характеристики плитки
Производят промышленную плитку из тугоплавких глин с применением спецдобавок, в числе которых каменная мука. Сформованная керамика обжигается в специальных печах при температуре 1300 градусов. Готовое изделие высокоогнеупорно и очень стойкое к кислотам и щелочам. Не боится оно и механических воздействий в разумных пределах.
Применение кислотоупорной плитки в агрессивных средах.
Виды кислотоупорной плитки по ГОСТ и коды ОКП по Общероссийскому классификатору промышленной продукции.
Характеристики кислотоупорной плитки по ГОСТ.
Особенности промышленной плитки
Плитка для промпредприятий имеет следующие особенности:
- лицевое полотно лишено декоративного покрытия;
 - увеличена толщина керамики;
 - абсолютная экологичность, сырьё и красители имеют натуральное происхождение;
 - относительно небольшой формат;
 - зависимость цвета плит от марки глины и степени обжига;
 
Размеры
Стандартные размеры плитки в зависимости от типа и формы указаны в таблице.
- 200×200×20 мм;
 - 200×200×30 мм;
 - 300×300×20 мм;
 
Спаренная керамика имеет такие размеры:
- 230×113×20 мм;
 - 230×113×30 мм;
 - 230×113×35 мм;
 
Шестиугольная промышленная плитка Argelith (Германия).
Облицовка промышленной плиткой
Схема укладки кислотоупорной плитки почти во всём идентична обычной. Отличия кроются в клеевых и затирочных составах. Само собой, стойкой к внешней агрессии должна быть не только керамика, но и связующие вещества. Последние должны обладать очень высокой кислотостойкостью (до 98%).
Укладка кислотоупорной плитки на пол.
- наполнитель из андезитовой или диабазовой муки;
 - кремнефтористый натрий — катализатор затвердевания смеси;
 
Плотность стекла — не менее 1,4 г/см3. Поверхность до укладки очищается, в случае необходимости просушивается, грунтуется. Увлажнять основание нельзя, чтобы не растворилось жидкое стекло. В таблице приведены нормы расхода (на 1 м2) компонентов смеси с учётом толщины прямоугольной стандартной керамики:
| Толщина плит, мм | Кислотоупорный порошок, кг | Кремнефтористый натрий, кг | Жидкое натриевое стекло | 
|---|---|---|---|
| 35 | 18,7 | 1,3 | 8,65 | 
| 30 | 18,3 | 1,28 | 8,52 | 
| 20 | 17,6 | 1,23 | 8,27 | 
Затирка швов
Затирать швы можно через несколько суток после укладки. В качестве замазки применяют:
- облицовочную смесь;
 - эпоксидные составы;
 - затирку арзамит;
 
Следующая таблица демонстрирует расход (на 1 м2) последнего компонента из списка:
| Толщина керамики, мм | Порошок арзамит, кг | Раствор арзамит, кг | 
|---|---|---|
| 35 | 1,38 | 1,14 | 
| 30 | 1,18 | 0,98 | 
| 20 | 0,79 | 0,65 | 
В любом случае лучше приобретать смеси для облицовки и затирки, предварительно посоветовавшись с реализатором или производителем кислотоупорной плитки. Резюмируя сказанное, отметим, что промышленная плитка обладает самыми высокими эксплуатационными показателями из всех керамических облицовочных материалов. Если у вас возникла нужда в крайне качественной и долговечной облицовке подсобного помещения, рискующего оказаться жертвой едкой химии, выбирайте кислотоупорную керамику. Отдайте предпочтение керамике, крайне стойкой к истиранию, температурным перепадам и ударной механике даже в том случае, если оформить плиткой требуется всего лишь «рабочий» гараж, а совсем не ядерный реактор.
Технология Укладки Кислотоупорных Материалов
Кислотостойкое покрытие используется на промышленных объектах, где рабочие поверхности подвергаются тяжелым механическим и химическим нагрузкам. В быту такую плитку используют как настил в гаражах, открытых балконах и террасах.
При укладке кислотоупорной плиткой/кирпичом нужно руководствоваться сводом правил:
СП 28.13330.2017 «Защита строительных конструкций от коррозии» (актуализированной редакцией старых строительных правил СНиП 2.03.11-85).
ТОЛЩИНА ПОКРЫТИЯ
Выбор толщины кислотоупорной плитки зависит от будущей эксплуатации покрытия (внешних механических нагрузок).
Если планируется, что по ней будут передвигаться автоцистерны и крупные погрузчики, рекомендуемая толщина составляет 35 миллиметров.
При особо тяжелых эксплуатационных условиях возможен вариант с кислотоупорным кирпичом, толщина которого достигает 65 мм.
Производители предлагают кислотостойкое покрытие толщиной от 9 до 20 миллиметров. Такие экземпляры подойдут для бытового использования. Они стоят дешевле промышленных аналогов повышенной прочности и толщины, но способны выполнять возложенную на них функцию в щадящих условиях.
Кроме того, плитка толщиной около 11 мм чаще всего используется для защиты стен, ведь они не подвергаются высоким механическим нагрузкам.
КЛЕЙ И ЗАМАЗКА
Выбор клея/замазки зависит от того, каким будет помещение – влажным либо сухим.
- Сухие помещения (химические лаборатории и склады, некоторые цеха пищевой промышленности). Для них подойдет силикатная замазка. В ее состав входит кислотостойкий порошок, кремнефтористый натрий и жидкое стекло.
 - Помещения с повышенной влажностью. В таких случаях используется либо замазка «Арзамит-5», либо силикатная замазка. В последнем случае на силикатной замазке выкладывают плитку, а «Арамзитом» расшивают плиточные швы. Это связано с гидрофобностью силикатной стяжки и необходимостью обеспечить максимальную гидроизоляцию.
 
- Их также можно использовать в помещениях с повышенной влажностью, а также пищевых помещениях без непосредственного контакта с пищей.
 - Они просты в использовании, имеют красивый эстетический вид (составы на основе эпоксидной смолы можно окрашивать в различные цвета).
 
ТЕХНОЛОГИЯ УКЛАДКИ
Технология укладки не имеет особых отличий по сравнению с другими типами облицовки. Все нюансы сводятся к особенностям используемого материала.
Однако нужно иметь в виду, что в случае укладки плитки на «Арзамит-5» поверхность из бетона должна быть ровной, так как слой замазки не должен быть более 5 мм. Помимо этого, перед наклейкой поверхности рекомендовано обклеить пластиной полиизобутиленовой ПСГ.
Для промышленных объектов хорошим решением станет использование кислотостойкого бетона (готовых смесей на основе молотого кварцевого песка) в качестве основы для последующей футеровки плиткой.
При использовании силикатной замазки температура укладки может быть ниже, а слой – толще (если существует необходимость в выравнивании поверхности).
Если плитка укладывается для защиты и укрепления пола, то важно соблюдать правила гидроизоляции основы
- На щебневую подушку наносится рулонная изоляция, которая будет поддерживать бетон в сухости.
 - На стандартный бетон укладывается второй слой гидроизоляции, поверх которой располагается стяжка из кислотоустойчивого бетона.
 
Лишь после этого можно приступать к обработке поверхности и укладке плитки.















































