Комбинированная система отопления: радиаторы и теплый пол

Скажу сразу, что этот вариант сейчас применяют везде, где это только возможно.
Ее популярность объясняется повышением комфортности проживания в частном доме.
Вы можете забыть о теплых носках и тапочках и просто ходить по комфортному теплому полу.
Суть такой СО состоит в том, что тепловые потери помещения делятся между радиаторами (или другими приборами отопления) теплым полом.
Здесь в тандеме работают высокотемпературное и низкотемпературное отопление.
Если кто не в курсе, то напомню, что температура теплоносителя в радиаторах может доходить до 90 градусов, то теплых полах она не должна превышать 50.
Это позволяет добиться комфортной температуры поверхности пола.
К сожалению в нашей стране много людей, которые предпочитают сначала сделать, а только потом подумать… Ну, или вообще никогда не подумать.
Так вот, эти люди подключают водяные теплые полы (ВТП) без группы автономной циркуляции (ее называют еще смесительным узлом).
В результате по трубам начинает циркулировать нагретая до 70-80 градусов вода, а покрытие пола начинает обжигать ноги.
Конечно, вы рано или поздно привыкните ходить ро дому в пляжных тапочках, но лучше все изначально сделать по правилам.
Кроме ВТП могут быть использованы электрические теплые полы.
В некоторых случаях будет гораздо дешевле уложить в стяжку кабель или нагревательный мат, чем тянуть трубы и делать коллекторные шкафы.
Увеличатся только счета за электричество, но с этим иногда можно мириться.
Тип котла и виды топлива.
Хорошая схема отопления одноэтажного дома начинается с теплогенератора, а именно котла. Ассортимент современных теплогенераторов представлен просто огромным списком котлов, которые подходят не к любой СО.
Если взять самые экономичные котлы с самым дешевым видом топлива, то это природный газ и твердое топливо.
Что мы имеем:
а) газовые котлы. Они пользуются большой популярностью, особенно конденсационные, так как позволяют извлекать максимальную теплоотдачу за счёт уплотнения (конденсации) продуктов сгорания, переходящих из газообразного состояния в жидкое (конденсат).
б) котлы на твёрдом топливе. Лидером среди подобного оборудования считается пиролизный котёл. Топливо в таких котлах при ограниченном поступлении кислорода переходит в пиролизный газ, который сразу же сгорает при оптимальной подаче кислорода.
Минимальное количество отходов – существенный плюс в системе отопления. Пиролизные котлы могут работать и в режиме «Полуавтомат», то есть требуется минимум человеческого вмешательства.
Схема отопления одноэтажного дома с газовым котлом:

Тип котла следует выбирать только на основании того, какой вид топлива вы собираетесь использовать, и в какой степени он доступен в вашей местности.
- Дрова. Самый старый метод отопления. Способ стар, да проверен веками. Если есть возможность постоянно заготавливать на зиму дрова, то это топливо может спокойно потеснить газовую систему.
- Уголь. Такой же древний вариант, как и отопление дровами. И так же хорошо зарекомендовал себя.
- Природный газ. Способ новый, а учитывая наличие термостатов в таких котлах, то можно считать и удобным в использовании.
- Пеллеты. Совсем новый вариант топлива, основой для которого используются прессованные опилки, имеющие форму небольших гранул. Стоят очень дорого, но и тепла выдают больше, нежели уголь или газ.
Что касается электричества, дизельного топлива или сжиженного газа, то отапливать сейчас таким способом даже небольшой одноэтажный дом очень дорого.
Плюсы и минусы лучевой схемы
Остановив свой выбор на коллекторно-лучевой системе обогрева необходимо учитывать все её стороны.
Достоинства коллекторной схемы:
Лучевая схема имеет следующие преимущества:
- Один диаметр труб от гребёнок до конвекторов.
- Количество фитинговых соединений, особенно, при укладке труб в полу, минимально, что делает всю систему более надёжной.
- Гидравлическая стабильность и сбалансированность по обогреву.
- Ремонт отдельных участков или радиаторов выполняется без отключения от системы и её слива.
Гибкие трубы системы, не имеющие соединений, легко скрыть под полом, за счёт чего не портится интерьер помещения, а для ремонта системы пол не нужно демонтировать.
Коллекторная разводка труб
Ещё одно существенное преимущество лучевой системы, которое делает отопление многоквартирного или частного дома более энергоэффективным, и с комфортной для любой комнаты температурой, — это возможность настраивать параметры обогрева отдельно для каждого контура, в ручном или автоматическом режиме.
Какие недостатки необходимо учитывать
Кроме материалозатратности лучевой схемы, следует учитывать и некоторые другие её минусы:
- оборудование дополнительного места для установки коллекторного шкафа;
- установка циркуляционных насосов в каждый независимый контур для компенсации больших гидравлических сопротивлений;
- применение дополнительных специальных устройств.
Установка этих элементов, кроме увеличения стоимости, требует ещё и точных расчетов.
Какая система отопление более выгодна
При определении, какая система более выгодна, нельзя ориентироваться только на цену покупки оборудования. Кроме того, необходимо учитывать стоимость материалов и пусконаладочных работ. Но и это не все. Необходимо также оценить сумму расходов на энергоносители, расходные материалы и регулярное обслуживание системы за 5 или 10 лет, ориентируясь на срок эксплуатации системы.
В порядке возрастания стоимости монтажа разные типы располагаются в таком порядке:
- электроконвекторы;
- инфракрасная пленка;
- твердотопливный котел;
- жидкотопливный котел;
- газовый котел;
- теплые полы.
А в порядке возрастания стоимости эксплуатации список будет таким:
- твердотопливные котлы;
- газовые котлы;
- жидкотопливные котлы;
- электроотопление.
Соотношение приблизительное и зависит от цен на энергоносители в регионе, конкретной конфигурации системы и ряда других факторов.
Двухтрубная система с нижней разводкой
Далее мы будем рассматривать двухтрубные системы, отличающиеся тем, что они обеспечивают равномерное распределение тепла даже по самым большим домовладениям с множеством комнат. Именно двухтрубная система используется для обогрева многоэтажных домов, в которых очень много квартир и нежилых помещений – здесь такая схема работает великолепно. Мы же будем рассматривать схемы для частных домов.

Двухтрубная система отопления с нижней разводкой.
Двухтрубная система отопления состоит из подающей и обратной труб. Между ними устанавливаются радиаторы – вход радиатора подключается к подающей трубе, а выход – к обратной. Что это дает?
- Равномерное распределение тепла по помещениям.
- Возможность регулировки температуры в помещениях путем полного или частичного перекрывания отдельных радиаторов.
- Возможность обогрева многоэтажных частных домов.
Существуют две основные разновидности двухтрубных систем – с нижней и верхней разводкой. Для начала мы рассмотрим двухтрубную систему с нижней разводкой.
Нижняя разводка используется во многих частных домах, так как позволяет сделать отопление менее видимым. Подающая и обратные трубы проходят здесь рядом друг с другом, под батареями или даже в полах. Удаление воздуха осуществляется через специальные краны Маевского. Схемы отопления в частном доме из полипропилена чаще всего предусматривают именно такую разводку.
Достоинства и недостатки двухтрубной системы с нижней разводкой

При монтаже отопления с нижней разводкой мы можем спрятать трубы в полу.
Давайте посмотрим, какими положительными чертами обладают двухтрубные системы с нижней разводкой.
- Возможность маскировки труб.
- Возможность использования радиаторов с нижним подключением – это несколько упрощает монтаж.
- Минимизируются тепловые потери.
Возможность хотя бы частично сделать отопление менее видимым привлекает многих людей. В случае с нижней разводкой мы получаем две параллельные трубы, идущие вровень с полом. При желании их можно завести под полы, предусмотрев эту возможность еще на этапе проектирования системы отопления и разработки проекта строительства частного дома.
Что касается недостатков, то они заключаются в необходимости регулярного ручного удаления воздуха и необходимости использования циркуляционного насоса.
Особенности монтажа двухтрубной системы с нижней разводкой

Пластиковый крепеж для труб отопления разного диаметра.
Для того чтобы смонтировать систему отопления по данной схеме, необходимо проложить по дому подающую и обратную трубы. Для этих целей в продаже есть специальный пластиковый крепеж. Если используются радиаторы с боковым подключением, делаем отвод от подающей трубы к верхнему боковому отверстию, а забираем теплоноситель через нижнее боковое отверстие, направляя его в обратную трубу. Рядом с каждым радиатором ставим спускники воздуха. Котел в такой схеме устанавливается в самой нижней точке.
Такая схема чаще всего делается замкнутой, с использованием герметичного расширительного бака. Давление в системе создается с помощью циркуляционного насоса. Если нужно обогреть двухэтажный частный дом, прокладываем трубы на верхнем и нижнем этажах, после чего создаем параллельное подключение обоих этажей к отопительному котлу.
Веские преимущества лучевой разводки
Основная задача отопительной системы – возместить тепло, которое здание теряет из-за разниц между внутренней и внешней температурой воздуха, а также в связи с различной степенью теплопроводности внешних стен.
На практике соединить все отопительные приборы воедино можно следующими методами:
- тройниковым подключением;
- лучевым (коллекторным) подключением, когда к каждому отопительному прибору с помощью коллектора подводится отдельная пара труб для прямой и обратной подачи теплоносителя.
Тройниковый или периметральный тип соединения труб дешевле. Но из-за того, что приборы связаны друг с другом и присоединены трубопроводом к единому стояку, систему нужно будет полностью отключать и освобождать от теплоносителя для ремонта отдельного радиатора или участка. Или оснащать байпасами и запорной арматурой, что существенно повысит стоимость организации отопления.
Галерея изображений Фото из Неоспоримым аргументом в пользу устройства лучевой системы отопления является ее эффективность, намного превышающая контуры с тройниковой разводкой
Разводка лучевой разновидности отопления осуществляется по этажам. Устраивается в основном с нижней подводкой к приборам
Сооружение систем отопления по лучевому принципу стало возможным благодаря разработке и внедрению металлопластиковых и полипропиленовых армированных труб
Трубы подводятся к каждому прибору отопления в виде лучей, исходящих от распределительной гребенки — коллектора
Параллельный принцип подключения приборов к трубопроводу обеспечивает практически равную температуру в них. Разница между температурой подачи и обратки также минимальна, что ощутимо снижает нагрузку на систему
В коллекторной системе может быть только одно кольцо, подключенное к гребенке, или несколько вторичных колец, в которые теплоноситель поставляется через первичное кольцо
Для нормальной работы система оснащается как минимум одним циркуляционным насосом, хоть и рекомендовано устанавливать их на каждое из колец. Устанавливается воздухоотводчик, манометр и предохранительный клапан давления
Коллектор располагают в шкафу, в двухэтажных домах на этаже устанавливают по одному коллектору, которые между собой соединяются стояками
Веское преимущество лучевой системы
Поэтажная схема устройства
Использование гибких полимерных труб
Вариант подводки труб к радиатору
Технические достоинства лучевого варианта
Принцип первичных и вторичных колец
Техническое оснащение лучевой разводки
Коллектор в предназначенном для него шкафу
При традиционной периметральной разводке весь трубопровод чаще всего монтируется открытым способом, реже скрытым. Лучевые отопительные системы преимущественно прокладываются в стенах или полу, т.к. большое количество труб, проложенных поверх конструкций, негативно влияет на интерьер.
Скрытый монтаж проходит система труб теплого пола, который в соответствии с технологической спецификой устраивается по лучевой схеме. Лучевой трубопровод к отопительным приборам тоже прокладывается в стяжке пола скрытым способом, потому что так лучше по технологическим и архитектурным соображениям.
Сборка трубопровода по лучевой схеме обойдется существенно дороже, чем устройство системы по периметральным способом. Однако благодаря специфике такой разводки нагретый теплоноситель поставляется во все точки одновременно
Большое количество труб при использовании лучевого способа сборки трубопроводов может испортить интерьер. Поэтому все отопительные коммуникации укладываются в пол или стены. Все соединения при этом остаются на поверхности, поэтому риск протечки под стяжкой практически отсутствует. При тройниковой системе этого делать нельзя, т.к. при износе соединений придется ломать стены и пол.
Для того чтобы сократить расход труб собранные по лучевой схеме трубопроводы прокладываются не по периметру, а кратчайшими путями — от коллектора к прибору
Главным недостатком коллекторной разводки является высокая материалоемкость, которая заключается в большой протяженности. А основной плюс состоит в том, что в каждом помещении можно настраивать разную температуру, создавая комфортный микроклимат в любой комнате.
Каждый радиатор или конвектор подключается независимо, что также удобно для осуществления сервисных работ и замены изношенных элементов системы без необходимости отключать отопление во всем доме или квартире.
Скрытый монтаж позволяет существенно улучшить визуальный вид любого помещения, оставляя видимыми только радиаторы отопления
Что такое лучевая схема разводки системы отопления
Для реализации проекта оборудования дома отопительной системой, как вновь строящегося, так и реконструируемого, существуют следующие способы соединения приборов обогрева:
- Контур с тройниковой (периметральной) разводкой.
- Лучевое (коллекторное) подключение.
Первый способ — дешевле, так как общая протяженность монтируемых труб значительно меньше. Но по многим другим параметрам стандартная линейная схема уступает коллекторной, при которой для подключения каждого конвектора выделяются отдельные независимые трубопроводы (лучи).
Лучевая схема подключения радиаторов
В коллекторной системе отопительные элементы обособленно, по параллельной схеме, замыкаются на распределительной узел (гребёнку), который подключен через основную магистраль к центральному отоплению или котлу обогрева.
Роль коллектора — равномерно раздавать тепловые потоки по лучам системы и, за счет естественной или искусственно создаваемой циркуляции, собирать и возвращать их, в отдавшем тепло виде, к источнику тепла.
Нагревательные котлы
В зависимости от используемого топлива они бывают:
- газовыми;
- жидкотопливными;
- электрическими;
- твердотопливными;
- комбинированными.
Каждому виду отопительных агрегатов присущи преимущества и недостатки.
Газовые котлы относятся к востребованным нагревательным приборам. При наличии в непосредственной близости от дома магистрального газопровода, владельцы частных домов отдают предпочтение данному виду топлива для обогрева.
Преимущества газовых агрегатов:
- доступная для потребителей стоимость топлива;
- высокий КПД (около 92%);
- легкость в эксплуатации, поскольку основная часть газовых моделей котлов автоматизирована. Это означает, что жильцы могут собственноручно выставлять нужный температурный режим и дальше не наблюдать за рабочим процессом и даже управлять агрегатом на расстоянии;
- благодаря наличию автоматического управления газовые приборы весьма экономичны;
- котлы имеют широкий выбор конструкционных решений – одноконтурные модели предназначены для обогрева дома, а двухконтурные приборы обеспечат не только теплоснабжение, но и горячее водоснабжение;
- в продаже вниманию потребителей предлагаются напольные и настенные агрегаты, что позволяет их устанавливать в наиболее удобном месте.
Недостатки газовых котлов:
- необходимость подвода газовой трубы к домовладению;
- получение в соответствующих инстанциях разрешительной документации на эксплуатацию газового оборудования.
- высокий КПД;
- несложное управление – многие модели снабжены автоматизированным управлением;
- путем смены горелки котел можно перестроить на использование природного газа.
- высокая стоимость жидкого топлива по сравнению с другими видами;
- дороговизна котла и горелки;
- в процессе работы агрегат шумит;
- необходимость обеспечивать постоянное наличие жидкого топлива в специальной емкости, находящейся в месте, приспособленном для этого;
- загрязнение котла в результате сжигания солярки (прочитайте: «Отопительные котлы на солярке — характеристика «);
- топливо отечественного производства часто приходится подвергать очистке от примеси смол, воды, песка и прочих нежелательных компонентов;
- наличие в солярке серы приводит к ускорению коррозийных процессов в котле, дымоходе и в целом во всем оборудовании.
Электрические котлы позволяют сделать комбинированные системы отопления частного дома с использованием электроэнергии. Если в населенном пункте отсутствует газоснабжение, и финансовое положение позволяет оплачивать немаленькие счета за электричество, то можно отдать предпочтение такому типу теплогенераторов.
Наиболее популярны два вида электрических котлов:
- устройства с прямым нагревом (укомплектованы ТЭНами);
- электродные приборы (в жидкий теплоноситель подается электрический разряд, который его нагревает).
- отсутствие необходимости обустройства дымохода;
- экологичность и безопасность;
- бесшумная работа;
- доступная стоимость;
- компактность;
- наличие автоматизированного управления;
- благодаря широкому выбору моделей потребители могут подобрать прибор в соответствии с интерьером дома.
Недостатки:
- большое потребление электрической мощности;
- для мощных котлов нужно получить разрешение в соответствующих инстанциях;
- ежемесячная оплата довольно приличной суммы, если агрегат используется в качестве основного источника тепла.
Комбинированные системы отопления, детальное видео:
Твердотопливные котлы работают на разных видах топлива. Схема комбинированной системы отопления обычно предусматривает их установку в тех населенных пунктах, где не проведен газ и наблюдаются постоянные скачки напряжения в электросетях.
Преимущества твердотопливных агрегатов:
- доступная цена;
- возможность использовать разное твердое топливо – уголь, дрова, пеллеты, отходы древесины и т.д.;
- экономичность;
- невысокая стоимость топлива;
- наличие моделей с встроенным автоматизированным управлением, что значительно упрощает процесс эксплуатации.
- вредные для здоровья угарные газы, попадающие в атмосферу;
- ручная загрузка топлива в топку;
- необходимость чистить дымоход и топку от сажи несколько раз в месяц;
- требуется регулярное пополнение запасов топлива;
- отсутствие возможности регулировать температуру в неавтоматизированном котле.
Комбинированные котлы являются универсальным вариантом теплоснабжения, поскольку в них имеется две грелки и более, позволяющих использовать разные виды топлива. Схемы комбинированного отопления могут быть самыми разными.
Основные их подгруппы:
Выбор отопительного комбинированного котла должен учитывать все моменты, связанные с теплоснабжением дома.
Типы двухтрубной системы горизонтальной компоновки
Самый распространенный вариант обогрева жилого одноэтажного дома — двухтрубная система теплоснабжения с горизонтальной разводкой. Для организации такого отопительного контура используются следующие схемы:
- тройниковая или по другому периметральная;
- коллекторная, иначе лучевая.
Согласно тройниковой схеме трубы соединяются тройниками, трубопроводы прокладываются по периметру помещения, последовательно подключаются к приборам. Теплоноситель в периметральной системе перетекает от одной батареи в другую, несколько остывая по пути.
По движению нагретого и остывшего теплоносителя тройниковые варианты подразделяются на попутные и встречные. В тупиковой схеме горячая и охлажденная вода перемещается в разных направлениях. В попутной нагретый и отработанный теплоноситель течет в одну сторону.
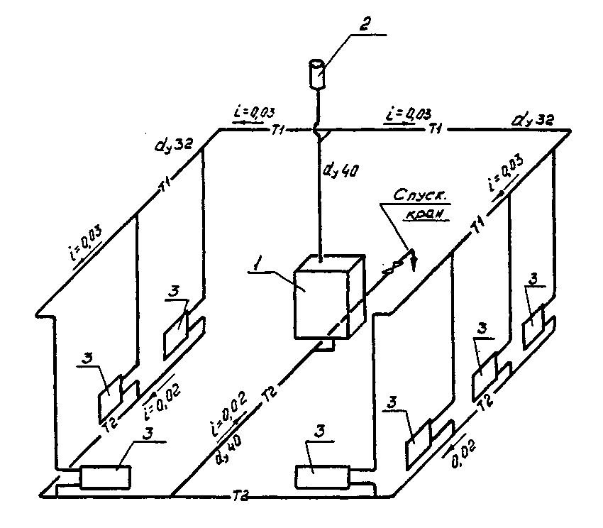
В коллекторной схеме от центрального органа системы, коллектора, трубы проводятся к каждому из радиаторов, за счет чего теплоноситель поступает во все приборы одновременно. Принцип устройства напоминает солнечные лучи, исходящие от расположенного обычно в центре распределителя теплового потока. В лучевых разновидностях разводки теплоноситель движется только в разные стороны.
Различия лучевой и тройниковой разводки
При тройниковой разводке радиаторы отопления подключаются к котлу с помощью двух труб, одна из которых подает нагретый теплоноситель, а вторая отводит его обратно в котел после того, как он нагреет радиатор и остынет. При этом батареи подключаются к системе строго последовательно, одна за другой, а трубы подводки и обратки укладываются в нижней части стен отапливаемых помещений, у самого пола. Это обстоятельство ничуть не улучшает дизайн интерьеров.
Но, справедливости ради стоит сказать, что монтаж такой схемы разводки требует гораздо меньших финансовых затрат, чем лучевой, так как при этом требуется меньше труб, фитингов и иных соединительных деталей. Хотя монтаж такой системы достаточно сложен, что при ненадлежащем качестве его выполнения увеличивает риск поломок отопительной системы, особенно при резких перепадах давления.

Тройниковая разводка
Лучевая разводка, в свою очередь, подразумевает прокладку труб к каждому конкретному радиатору от специального устройства — коллектора или гребенки, как его еще называют. Естественно, расход труб при этом значительно увеличивается. Помимо подведения труб, на каждый радиатор необходимо установить свою запорную арматуру — тройники, вентили, терморегуляторы и прочие детали, при этом часть из них требует установки как на подводке, так и на обратке.
Но, несмотря на относительно большой расход комплектующих, коллекторная схема разводки позволяет в случае возникновения аварийной ситуации безболезненно отключить от системы любой радиатор, отдельную комнату или даже целый этаж. При этом в оставшейся части дома отопление продолжает исправно функционировать.

Лучевая разводка
Кроме того, при лучевой разводке трубы отопления чаще всего спрятаны под напольным покрытием. Это дает возможность сделать полы теплыми, что особенно актуально, если подвал не утеплен. Цельная труба из сшитого полиэтилена, не имеющая стыков и проложенная под полом, практически полностью исключает возможность протечек, а ремонт, если он и потребуется, будет локализован местами присоединения труб к радиаторам или коллектору.
Выбор схемы водяного отопления дома
Пример схемы водяного отопления одноэтажного дома
Установка водяного отопления считается одним из оптимальных способов поддержания комфортной температуры в доме. При этом у владельца есть выбор – двухтрубная система отопления одноэтажного дома или однотрубный аналог. Также нужно учитывать и другие нюансы организации этого типа теплоснабжения.
Сначала необходимо определиться – будет ли это схема отопления одноэтажного дома с естественной циркуляцией или и с принудительной. В первом случае движение теплоносителя осуществляется за счет его температурного расширения. Такой способ актуален только для небольших схем отопления. Если же общая площадь дома превышает 60 м² – рекомендуется установка циркуляционного насоса.
Насосный узел отопления
В таком случае не возникнут проблемы, которые имеет водяное отопление одноэтажного дома с естественной циркуляцией:
- Неравномерное распределение тепла по радиаторам и батареям;
- Обязательная установка труб больших диаметров (40 мм) для уменьшения потерь за счет трения воды о внутреннюю поверхность магистрали;
- Инертность системы. Большое время нагрева, обусловленное медленным повышением температуры теплоносителя.
Однако схема отопления одноэтажного частного дома с насосом также имеет один недостаток – зависимость от электроснабжения. Но в этом случае при правильной обвязке насоса можно легко сделать схему отопления одноэтажного дома с естественной циркуляцией.
Если же необходима постоянная работа насоса – можно в систему добавить блок бесперебойного питания.
Однотрубная разводка отопления в одноэтажном доме
Однотрубная схема отопления
Это один из самых экономных способов теплоснабжения. Преимущество однотрубной системы отопления одноэтажного дома заключается в установке только одной линии магистрали, к которой последовательно подключаются радиаторы и батареи.
При этом нужно учитывать особенности этой схемы разводки. Она реализуется в домах с небольшой площадью. Если общая протяженность магистрали превышает 30м, то устанавливать однотрубную систему отопления одноэтажного здания не рекомендуется. Теплоноситель будет остывать, доходя до последних радиаторов в цепочке. Чуть большей максимальной протяженностью обладают схемы с циркуляционным насосом – до 50 м.
Байпас в обвязке радиатора
Что нужно учитывать во время проектирования однотрубного отопления в одноэтажном частном доме своими руками?
- Возможность прокладки труб в труднодоступных местах;
- Для гравитационной системы обязательно необходимо соблюдать уклон магистралей. Он должен составлять 3-4 мм на 1 м.п. трубопроводов;
- Минимальное количество поворотных и разделительных узлов. Это снизит гидравлическое сопротивление при движении теплоносителя.
При установке радиаторов отопления одноэтажного дома своими руками необходимо сделать байпасы.
Кроме этих факторов следует правильно расположить котел относительно других отопительных приборов. Он должен находиться в самой низкой точке системы.
Двухтрубная схема теплоснабжения дома
Двухтрубные отопительные схемы
Практически все схемы отопления одноэтажного дома с двухконтурным котлом реализовываются на основе двухтрубной системы. Она отличается от вышеописанной наличием второй магистрали, по которой течет остывший теплоноситель. Подключается к обратному патрубку котла для повторного нагрева воды.
В этой схеме водяного отопления одноэтажного дома подключение радиаторов происходит параллельно. Т.е. от подающей магистрали к каждому прибору отводится соединительный патрубок. Подобная система характеризуется такими особенностями эксплуатации и проектирования:
- Увеличение количества расходных материалов для монтажа обратного трубопровода;
- Равномерное тепловое распределение по всем радиаторам;
- Возможность ремонта или замены батареи без отключения всей системы;
- При правильном расчете схемы отопления одноэтажного дома с двухконтурным котлом можно увеличить протяженность системы, установив новые трубы и радиаторы. Но при этом мощность котла должна обеспечить должный уровень нагрева теплоносителя.
Для двухтрубной системы отопления одноэтажного дома обязательно выполняется расчет основных параметров – диаметра труб, гидравлического и теплового распределения. Без этого система может работать недостаточно эффективно.





































